<tr id="FZyBVh"></tr>
    <em></em>

      1. <dl id="FZyBVh"></dl>

        plug torque test device of iec60065 figure 11

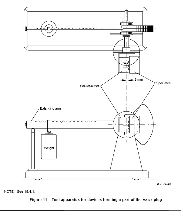
        Product Description:Name:plug torque test device of iec60065 figure 11Type:BND-CTLJStandards:BS1363.3,IEC60884,VDE0620,IEC60598,IEC60065 fig11ApplicationSocket-outlet Torque Balance Tester is used for test the torque strain exerted by the inputsocket-outlet and the devices with plug pins on output socketoutlets.The balancing arm of the test center lines of the contact tubes of the
        Description

        Product Description:

        Name:plug torque test device of iec60065 figure 11

        Type:BND-CTLJ

        Standards:BS1363.3,IEC60884,VDE0620,IEC60598,IEC60065 fig11


        Application

        Socket-outlet Torque Balance Tester is used for test the torque strain exerted by the input

        socket-outlet and the devices with plug pins on output socketoutlets.

        The balancing arm of the test center lines of the contact tubes of the

        socket-outlet at a distance of 8 mm behind the engagement face of the socket-outlet.

        With the engagement,the balancing arm is in equilibrium, the engagement face of the

        socket-outlet being in the vertical position.

        After the device has been engaged,the torque to be applied to the socket-outlet to maintain its engagement face in the vertical plane is determined by the position of a weight on the balance arm.

        Due to the different standards of different countries,the device are contained three socket clamps,If the needed clamps are more than 3 ,on request.

        In addition ,it includes a 5N weight and a 1N weight


        Type:

        weight

        2.5N*1, 1N*1

        Plug

        UL plug*1, European plug*1,all-purpose plug*1

        Conforms to standard

        IEC60884,VDE0620,IEC60598,IEC60065Fig11

        Arm of force

        0-200mm

        The distance from the contact surface and the Axis of the surface

        8mm


        2.jpg

        1.jpg

        3.jpg


        xsgYCjavascript:void();
        <tr id="FZyBVh"></tr>
          <em></em>

            1. <dl id="FZyBVh"></dl>